inet.ws在美国设有多个数据中心,其中就包括美国洛杉矶VPS,位于CoreSite数据中心,采用新一代英特尔vCPU架构和100%企业级SSD存储,单个VM最大500Mbps带宽,10TB流量起步。
那么,inet.ws美国洛杉矶VPS怎么样?本文将进行全新测评,看看整体数据表现好不好。如果需要租用的话,可以先看看本次测评数据,大致数据作为参考,然后再做出决定。
inet.ws美国洛杉矶VPS基于KVM虚拟化,Intel Gold 6152处理器,纯SSD固态硬盘,可选择Linux或FreeBSD操作系统,高达99.95%服务水平协议,主要方案参数配置如下所示:
| 方案 | CPU | 内存 | SSD | 带宽/流量 | 租用价格 |
| VPS-1 | 1vCPU | 2GB | 30GB | 500M/10TB | 4美元/月 |
| ONI-2 | 2vCPU | 4GB | 60GB | 500M/20TB | 8美元/月 |
| ONI-3 | 3vCPU | 6GB | 90GB | 500M/30TB | 14美元/月 |
| ONI-4 | 4vCPU | 8GB | 120GB | 500M/40TB | 20美元/月 |
| ONI-5 | 6vCPU | 12GB | 180GB | 500M/50TB | 30美元/月 |
| ONI-6 | 8vCPU | 16GB | 240GB | 500M/60TB | 40美元/月 |
- 默认支持1个IPv4,可付费增加(2美元/月/个)
测试方案配置:Intel Xeon Gold 6152 CPU(2核心,主频2099.998MHz),4GB内存,SSD硬盘,500Mbps带宽,IP归美国洛杉矶(上游为gthost),已开启BBR加速,硬盘I/O读写大致552MB/s:

VPS硬件配置综合性能测试数据:

fio测试磁盘I/O读写详细数据:

Speedtest测试全球部分节点带宽速度:

iperf3测试欧美地区带宽速度:

国内部分节点ping延迟测试,平均延迟大概157ms的样子:

联通去程路由节点测试,联通AS4837直连洛杉矶节点,然后转zayo网络到达机房:

联通回程路由节点,走gtt(部分节点走cogent)在圣何塞节点对接联通AS4837线路回来:

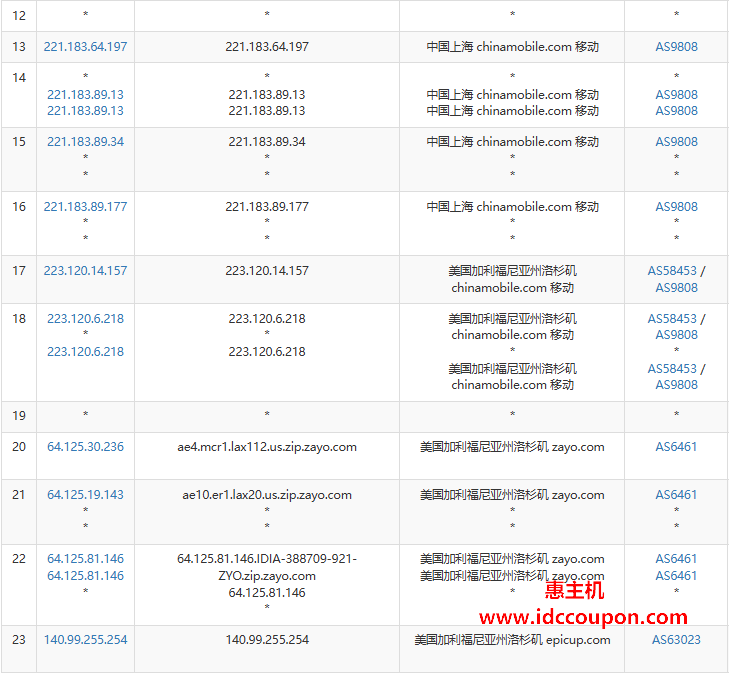
移动去程路由节点测试,移动CMI直连洛杉矶节点,然后转zayo网络到达机房 :

移动回程路由节点,走zayo网络在洛杉矶节点对接移动CMI线路回来:

电信去程路由节点测试,电信163骨干网直连圣何塞节点,然后转zoyo网络到达机房:

电信回程路由节点,走gtt网络在圣何塞节点对接电信163骨干网回来:

部分跨域流媒体解锁支持测试(结果仅供参考):

最后看看UnixBench跑分测试,1核心1线程大概598分的样子:

小结
以上就是inet.ws美国洛杉矶VPS测评数据,硬件配置凑合用,硬盘I/O读写较强。在网络方面,三大骨干网对接zayo/cogent网络,好在是直连线路,国内访问延迟不会太高。整体来看,租用性价比相当高,有需求的朋友可以看看。
惠主机




















