很多小伙伴可能有注意到,最近RackNerd产品线调整的有些厉害,除了年付20美元以下的VPS全部被下架之外,包括很多机房的VPS产品业务也都暂停售卖,而仅仅保留了洛杉矶、圣何塞、纽约、芝加哥、达拉斯等部分机房的VPS产品业务。
此前已经对RackNerd洛杉矶、圣何塞、纽约等机房VPS性能和访问速度评测过了,本文将对RackNerd达拉斯机房VPS进行简单的评测,毕竟现在还有少量的达拉斯机房VPS处于库存状态。
一、RackNerd达拉斯机房VPS方案配置
目前RackNerd达拉斯机房VPS有少量库存方案,年付价格15美元起,部分热门方案配置如下:
| 方案 | CPU | 内存 | 硬盘 | 流量/带宽 | 优惠价格 | 优惠购买 |
| RYZEN – 512MB | 1vCPU | 512MB | 6GB SSD | 400GB/1Gbps | 15美元/年 | 官网购买 |
| RYZEN – 512MB | 1vCPU | 512MB | 10GB SSD | 500GB/1Gbps | 22.99美元/年 | 官网购买 |
| RYZEN – 1GB | 1vCPU | 1.0GB | 24GB SSD | 2.5TB/1Gbps | 18.18美元/年 | 官网购买 |
| RYZEN – 1GB | 1vCPU | 1.0GB | 20GB SSD | 2.0TB/1Gbps | 32.55美元/年 | 官网购买 |
| RYZEN – 1.5GB | 1vCPU | 1.5GB | 22GB SSD | 3.0TB/1Gbps | 35.59美元/年 | 官网购买 |
| RYZEN – 2GB | 1vCPU | 2.0GB | 38GB SSD | 4.0TB/1Gbps | 31.88美元/年 | 官网购买 |
| RYZEN – 2.5GB | 2vCPU | 2.5GB | 40GB SSD | 6.0TB/1Gbps | 69.59美元/年 | 官网购买 |
| RYZEN – 3GB | 2vCPU | 3.0GB | 55GB SSD | 5.0TB/1Gbps | 48.79美元/年 | 官网购买 |
二、RackNerd达拉斯机房VPS简单评测
测试方案配置:2vCPU、2GB内存、SSD硬盘、1Gbps带宽,
测试IP地址:192.3.83.129
CPU、内存、I/O读写测试,I/O读写数据还是很好看的:

部分节点速度测试,延迟稍微有一点点高,毕竟位于美国中南部,地理位置上面肯定没有美国西海岸机房优势多:

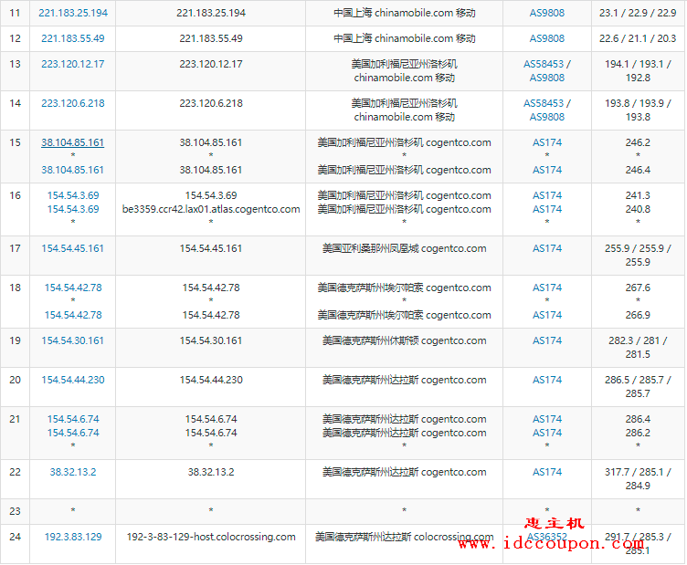
路由节点测试,只能说很专一,RackNerd达拉斯机房到国内三网全程都是cogentco线路,好在都是直连,不过遇到网络高峰时段,单条线路很容易炸掉!!
联通去程路由线路:

联通回程路由线路:

移动去程路由线路:

移动回程路由线路:

电信去程路由线路:

电信回程路由线路:

丢包抖动测试,这个是大白天测试的结果,国内地区抖动稍微有些厉害,欧美地区稍微好一些:

最后来看看Unixbench跑分测试情况,从测试结果可以看出,整体性能没得说,配置已经很殷实了:

三、总结
以上就是关于RackNerd达拉斯机房VPS的简单评测内容,从测试数据可以看出,其硬件配置还是比较高的,但机房接入的是普通带宽线路,而且是单一线路,所以国内访问速度一般,晚高峰时段丢包率可能会比较高,国外访问效果会稍微好一些。
本文评测数据仅供参考,有条件的朋友可以自行进行测试。总之,如果是国内建站的话,还是建议慎重选用,如果是欧美地区外贸建站的话,选用的话基本上没什么大问题。
惠主机





















