inet.ws提供美国达拉斯VPS,机器托管在DataBank数据机房,采用新一代英特尔vCPU架构和100%企业级SSD存储,单个VM最大500Mbps带宽,每个月10TB流量起步。
那么,inet.ws美国达拉斯VPS怎么样?本文将进行简单评测,主要包括硬件性能、带宽路由、流媒体解锁等主要数据,看看整体表现在什么水平,测评数据仅供参考。
inet.ws美国达拉斯VPS基于KVM虚拟化,Intel Gold 6152处理器,纯SSD固态硬盘,500M带宽,可选择Linux或FreeBSD操作系统,高达99.95%服务水平协议,主要方案配置如下所示:
| 方案 | CPU | 内存 | SSD | 带宽/流量 | 租用价格 |
| VPS-1 | 1vCPU | 2GB | 30GB | 500M/10TB | 4美元/月 |
| ONI-2 | 2vCPU | 4GB | 60GB | 500M/20TB | 8美元/月 |
| ONI-3 | 3vCPU | 6GB | 90GB | 500M/30TB | 14美元/月 |
| ONI-4 | 4vCPU | 8GB | 120GB | 500M/40TB | 20美元/月 |
| ONI-5 | 6vCPU | 12GB | 180GB | 500M/50TB | 30美元/月 |
| ONI-6 | 8vCPU | 16GB | 240GB | 500M/60TB | 40美元/月 |
- 默认支持1个IPv4,可付费增加(2美元/月/个)
测试方案配置:Intel Xeon Gold 6152 CPU(2核心,主频2099.998MHz),4GB内存,SSD硬盘,500Mbps带宽,IP归美国达拉斯(上游为gthost),已开启BBR加速,硬盘I/O读写大致496MB/s:

VPS硬件配置综合性能测试结果:

fio测试磁盘I/O读写详细数据:

国内部分节点上下和下行带宽速度测试:

Speedtest测试全球部分节点上传和下载带宽:

iperf3测试欧美地区带宽速度:

国内部分节点ping延迟测试,平均延迟大概209ms的样子:

联通去程路由节点测试,联通AS4837直连洛杉矶节点,然后转zayo网络到达机房:

联通回程路由节点,走cogentco网络在洛杉矶节点对接移动CMI线路回来:

移动去程路由节点测试,移动CMI直连洛杉矶节点,然后转cogentco网络到达机房 :

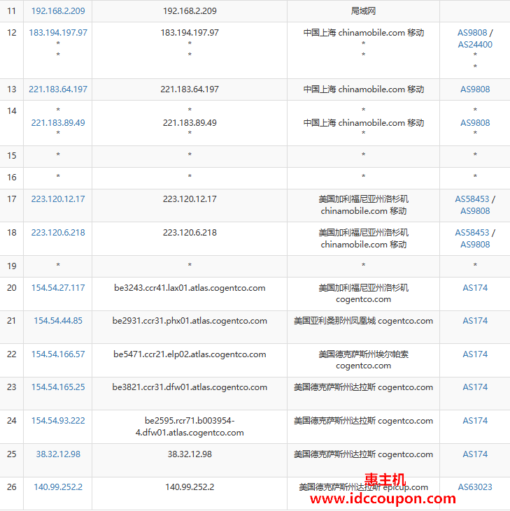
移动回程路由节点,走cogentco网络在圣何塞节点对接移动CMI线路回来:

电信去程路由节点测试,电信163骨干网直连圣何塞节点,然后转cogentco网络到达达拉斯机房:

电信回程路由节点,走cogentco网络在圣何塞节点对接电信163骨干网回来:

IP质量检测数据报告:

部分跨域流媒体解锁测试,Gemini、Disnety+、steam currency等能够解锁:

最后看看UnixBench跑分测试,2核心1线程大概399分的样子:

小结
以上就是inet.ws美国达拉斯VPS测评结果,硬件配置一般般,勉强凑合着用。在网络方面,三大骨干网对接zayo/cogent网络,路由没有优化,晚高峰是时波动可能较大。另外,配有美国原生IP,流媒体解锁效果整体来看还不错。
惠主机




















