iWebFusion主要提供美国VPS和服务器租用业务,拥有自己服务器硬件、内部员工、ASN和BGP网络,具有多宿主、优质带宽。目前在美国设有多个数据机房,最高可接入10Gbps带宽,国内访问速度快,更重要的是价格比较便宜。
在众多的数据机房当中,iWebFusion美国洛杉矶Aptum机房和俄勒冈州本德机房各位受到国内站长的青睐,因为它们位于美西海岸,体验相对较为不错。在本文中,小编主要对iWebFusion Aptum机房服务器进行简单测评,看看到底怎么样,值不值得你选择。
年末到了,iWebFusion正在搞清库存促销活动,各种配置的美国服务器正在降价促销,高配置低配置都有,现在购买都是特价,月付最低45美元,租用性价比极高,库存数量有限,先到先得。
- 可选美国5大数据机房(可在后台切换)
| 方案 | CPU | 内存 | 默认硬盘 | 带宽/流量 | 默认价格 | 购买地址 |
| E3-1230v2 | 4核心 | 16GB | 250GB SSD或2TB SATA | 1Gbps/10TB | 45美元/月 | 点此购买 |
| E3-1230v3 | 4核心 | 32GB | 250GB SSD或2TB SATA | 1Gbps/10TB | 49美元/月 | 点此购买 |
| 2*L5520 | 8核心 | 32GB | 250GB SSD或2TB SATA | 1Gbps/10TB | 49美元/月 | 点此购买 |
| 2* L5640 | 12核心 | 64GB | 250GB SSD或2TB SATA | 1Gbps/10TB | 59美元/月 | 点此购买 |
| E5-2620v3 | 6核心 | 32GB | 250GB SSD或2TB SATA | 1Gbps/30TB | 64美元/月 | 点此购买 |
| E3-1270v6 | 4核心 | 64GB DDR4 | 500G SSD | 1Gbps/30TB | 63美元/月 | 点此购买 |
| i7-7700K | 4核心 | 64GB DDR4 | 500G SSD | 1Gbps/30TB | 72美元/月 | 点此购买 |
测试方案配置:CPU主频大致是2.3GHz,1核心、4GB内存、I/O读写大概在239M/s,Aptum的AS号,已经启用了BBR加速:

CPU、I/O读写、内存等基本信息详细测试数据如下所示:

国内部分地区上行带宽和下行带宽速度测试:

国内ping延迟测试,平均在194ms的样子,略微有一点高:

联通去程路由节点测试,走的是AS4837对接GTT线路:

联通回程路由节点测试,走的是twelve99对接联通骨干网线路回到国内:
traceroute to 61.48.75.177 (61.48.75.177), 30 hops max, 60 byte packets 1 * * * 2 216.187.113.209 (216.187.113.209) 1.061 ms 1.229 ms 1.175 ms 3 lax-b22-link.ip.twelve99.net (80.239.194.244) 1.098 ms 1.020 ms 0.925 ms 4 rest-bb1-link.ip.twelve99.net (62.115.114.87) 55.996 ms 56.708 ms ash-bb2-link.ip.twelve99.net (62.115.121.221) 56.533 ms 5 * prs-bb2-link.ip.twelve99.net (62.115.122.158) 133.208 ms prs-bb1-link.ip.twelve99.net (62.115.112.243) 141.431 ms 6 ffm-bb1-link.ip.twelve99.net (62.115.123.12) 145.292 ms 145.378 ms * 7 ffm-b14-link.ip.twelve99.net (62.115.132.211) 152.850 ms ffm-b14-link.ip.twelve99.net (62.115.132.209) 8 219.158.41.97 (219.158.41.97) 231.981 ms 229.594 ms 219.158.34.237 (219.158.34.237) 222.745 ms 9 219.158.6.21 (219.158.6.21) 232.434 ms 219.158.3.237 (219.158.3.237) 256.591 ms 219.158.19.213 (219.158.19.213) 219.338 ms 10 219.158.3.213 (219.158.3.213) 230.628 ms 219.158.9.226 (219.158.9.226) 237.420 ms 219.158.3.213 (219.158.3.213) 232.264 ms 11 219.158.9.201 (219.158.9.201) 221.874 ms 219.158.5.149 (219.158.5.149) 222.500 ms 219.158.8.121 (219.158.8.121) 217.841 ms 12 125.33.186.66 (125.33.186.66) 258.296 ms 219.158.19.225 (219.158.19.225) 251.347 ms 219.158.7.17 (219.158.7.17) 275.459 ms 13 61.48.75.177 (61.48.75.177) 234.346 ms 234.718 ms 228.150 ms
移动去程路由节点测试,移动CMI后对接的是telia线路:

移动回程路由线路,走的是twelve99对接移动骨干网线路回到国内:
traceroute to 221.183.67.209 (221.183.67.209), 30 hops max, 60 byte packets 1 * * * 2 216.187.113.209 (216.187.113.209) 0.816 ms 1.041 ms 0.994 ms 3 lax-b22-link.ip.twelve99.net (80.239.194.244) 0.934 ms 0.863 ms 0.786 ms 4 lax-b23-link.ip.twelve99.net (62.115.143.38) 0.959 ms 0.963 ms 0.790 ms 5 chinamobile-ic-342122.ip.twelve99-cust.net (62.115.171.217) 0.790 ms 1.071 ms 1.031 ms 6 223.120.6.217 (223.120.6.217) 0.618 ms 0.764 ms 0.684 ms 7 223.120.12.214 (223.120.12.214) 192.139 ms 192.172 ms 192.322 ms 8 221.183.55.110 (221.183.55.110) 184.261 ms 221.183.55.106 (221.183.55.106) 189.247 ms 188.683 ms 9 221.183.25.201 (221.183.25.201) 200.365 ms 221.183.46.250 (221.183.46.250) 205.544 ms 205.220 ms 10 221.183.89.122 (221.183.89.122) 204.078 ms 221.183.89.102 (221.183.89.102) 199.093 ms 198.768 ms 11 * * * 12 * * * -- Traceroute timed out --
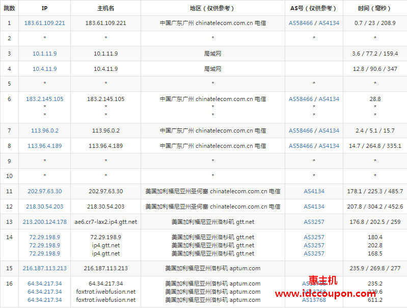
电信去程路由节点测试,电信163骨干网直连对接gtt线路:

电信回程路由节点测试,走的是twelve99对接电信163骨干网线路回到国内:
traceroute to 183.2.145.105 (183.2.145.105), 30 hops max, 60 byte packets 1 * * * 2 216.187.113.209 (216.187.113.209) 0.959 ms 1.274 ms 1.230 ms 3 lax-b22-link.ip.twelve99.net (80.239.194.244) 1.244 ms 1.194 ms 1.141 ms 4 chinatelecom-ic-368151.ip.twelve99-cust.net (62.115.185.213) 52.872 ms 53.792 ms 53.777 ms 5 * * * 6 202.97.65.94 (202.97.65.94) 210.775 ms 202.97.94.89 (202.97.94.89) 209.596 ms 202.97.12.26 (202.97.12.26) 211.908 ms 7 * 202.97.72.1 (202.97.72.1) 210.384 ms 202.97.71.253 (202.97.71.253) 219.683 ms 8 113.96.5.194 (113.96.5.194) 233.395 ms 113.96.5.182 (113.96.5.182) 210.735 ms * 9 * * *
流媒体解锁支持测试结果如下(tiktok解锁失败):

UnixBench跑分结果测试如下,单核大概670的样子:

总结
以上就是关于iWebFusion洛杉矶Aptum机房VPS测评情况,通过测试数据可以看出硬件配置一般吧,其中CPU负载稍微有点高,但对于个人建站业务来说是够用的。另外再路由节点方面,虽然不是优化带宽线路,但三网双程基本都是国内外普通直连线路,所以国内访问速度应该不会慢。
当然,以上是VPS机器的测评结果,由于iWebFusion美国VPS租用价格相对昂贵,所以小编建议大家可以选用择上面的特价美国服务器方案,一方面价格相对比较便宜,另一个方面性能比VPS要好不少,所以是比较不错的选择。
惠主机


















