RareCloud已经在英国伦敦部署VPS业务,采用高性能AMD EPYC 7542处理器,配有DDR4+NVMe SSD存储,接入1Gbps国际带宽,比较适用于外贸建站、跨境电商等业务。
那么RareCloud英国伦敦VPS怎么样?接下来将对其硬件性能、带宽路由和流媒体解锁进行简单测评,看看整体数据表现在什么水平,当然测评数据仅供参考。
RareCloud英国伦敦VPS底层为KVM虚拟,AMD EPYC处理器,NVMe硬盘,1Gbps带宽,仅支持Linux操作系统,当前官方正在搞促销活动,现在购买年付低至12.39欧元,具体配置参考以下列表:
- 输入相应的优惠码即可享受折扣(仅限年付周期)
- 购买伦敦机房订购的VPS,均可享受双倍存储空间(发工单申请)
- 默认支持1x IPv4 & /112 IPv6 Subnet
- IPv4最高可扩展至64个
- 仅支持Linux操作系统
测试方案配置:AMD EPYC 7542 CPU(1核心,主频2.894GHz),2GB内存,NVMe硬盘,1Gbps带宽,IP归属英国伦敦(上游为M247),已经启用BBR,硬盘I/O大致60MB/s:

VPS硬件配置性能综合测试数据详情:

fio测试硬盘I/O读写详细数据:

国内部分节点上行和下行带宽速度测试:

亚洲部分节点上行和下行带宽速度测试:

Speedtest测试国际上行和下载带宽速度:

iperf3测试欧美地区带宽速度:

国内部分地区ping延迟测试,平均207ms的样子,可以看出走的是纯国际线路:

联通去程路由节点测试,联通AS4837直连法兰克福节点,然后转M247网络经过比利时到达伦敦机房:

联通回程路由节点测试,走verizon网络在法兰克福节点对接联通AS4837回来:

移动去程路由节点测试,移动CMI直连英国伦敦节点,然后转cogentco网络到达伦敦机房:

移动回程路由节点,走telia网络在法兰克福节点对接移动CMI回来:

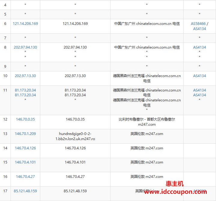
电信去程路由节点测试,电信163骨干网直连法兰克福节点,然后转M247网络经过比利时到达伦敦机房:

电信回程路由节点,走verizon网络在荷兰海牙节点对接电信163骨干网回来:

IPv4网络质量体检报告数据:

IPv6网络质量体检报告数据:

IP质量检测数据报告:

部分跨域流媒体解锁支持测试(仅供参考):

Geekbench 6综合跑分测试:

最后看看UnixBench跑分测试,1核心1线程大概1181分的样子:

小结
以上就是RareCloud英国伦敦VPS测评结果,硬件性能还算不错,硬盘I/O英国是被限制了。在网络方面,基本上走的是纯国际线路,国内访问延迟略高,不过欧美地区连接良好,比较适合欧美地区外贸业务。
惠主机



















