RareCloud在德国法兰克福部署VPS业务,采用高性能AMD EPYC 9254处理器,配有DDR4+NVMe SSD存储,接入1Gbps国际带宽,当前已经正式投入运营。
那么,RareCloud德国法兰克福VPS怎么样?本文对其进行简单测评,主要包括硬件性能、带宽路由和流媒体解锁等几大方面。需要入手的朋友可以先参考本文测评数据,然后再做出决定。
RareCloud法兰克福VPS底层为KVM虚拟,AMD EPYC处理器,NVMe硬盘,1Gbps带宽,仅支持Linux操作系统,当前正在搞促销,现在购买年付低至12.39欧元。
- 输入相应的优惠码即可享受折扣(仅限年付周期)
- 默认支持1x IPv4 & /112 IPv6 Subnet
- IPv4最高可扩展至64个
- 仅支持Linux操作系统
测试方案配置:AMD EPYC 9254 CPU(1核心,主频2.89GHz),2GB内存,NVMe硬盘,1Gbps带宽,IP归属法兰克福(上游为M247),已经启用BBR,硬盘I/O大致351MB/s:

VPS硬件配置性能综合测试数据:

fio测试硬盘I/O读写详细数据:

国内部分节点上行和下行带宽速度测试:

亚洲部分节点上行和下行带宽测试:

Speedtest测试国际上行和下载带宽速度:

iperf3测试欧美地区带宽速度:

国内部分地区ping延迟测试,平均195ms的样子,对于欧洲法兰克福VPS来说还算不错:

联通去程路由节点测试,联通AS4837直连法兰克福节点,然后转M247网络到达机房:

联通回程路由节点测试,走verizon网络在法兰克福节点对接联通AS4837回来:

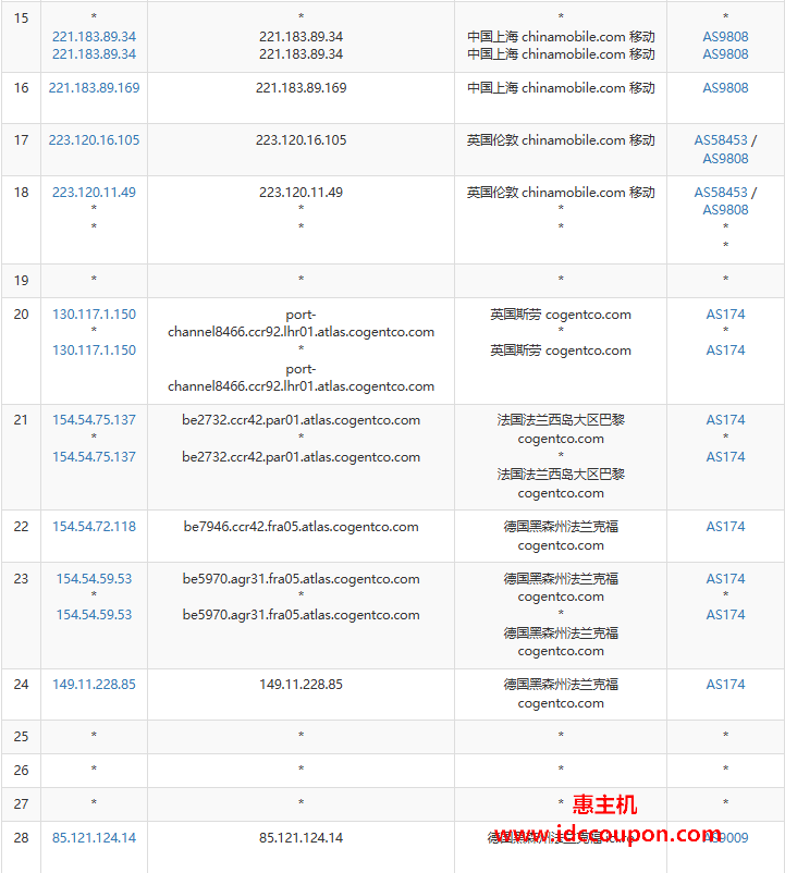
移动去程路由节点测试,移动CMI直连英国伦敦节点,然后转cogentco网络到达机房:

移动回程路由节点,走cogentco网络在法兰克福节点对接移动CMI回来:

电信去程路由节点测试,电信163骨干网直连法兰克福节点,然后转M247网络到达机房:

电信回程路由节点,走verizon网络在法兰克福节点对接电信163骨干网回来:

网络质量体检报告数据:

IP质量检测数据报告:

部分跨域流媒体解锁支持测试(结果仅供参考)

Geekbench 6综合跑分测试:

最后看看UnixBench跑分测试,1核心1线程大概1181分的样子:

小结
以上就是RareCloud法兰克福VPS测评结果,硬件性能还算不错,硬盘I/O读写相对弱了一些。在网络方面,移动双程是CMI+cogentco网络,联通和电信双程是各自骨干网+M247网络,虽然优化网络,但基本上是直连,所有延迟不会太高。
惠主机



















