DMIT提供高性能、高端路由美国洛杉矶VPS,其中“Eyeball”系列VPS接入的是CMIN2&AS9929回程线路,并且在25年11月份,该系列VPS已经全面升级为AN5/AMD EPYC 9005平台(之前促销的套餐仍然为AN4/AMD EPYC 9004平台)。
实际上,AN4和AN5平台硬件性能还是有一定的差距。在本文中,小编将对DMIT AN5平台“Eyeball”系列美国洛杉矶VPS进行测评,看看整体硬件配置和带宽路由质量到底怎么样,当然测评数据仅供参考。
DMIT “Eyeball”系列美国洛杉矶VPS基于KVM虚拟化,SSD硬盘存储,最高共享10Gbps带宽,流量超过后限制为10Mbps,自带1个IPv4,4GB以上内存支持Windows系统,以下为主要方案配置:
| 方案 | CPU | 内存 | 硬盘 | 带宽/流量 | 租用价格 | 购买地址 |
| LAX.EB.WEE(特价版) | 1v CPU | 1GB | 20GB SSD | 1Gbps/1TB | 39.9美元/年 | 官网购买 |
| LAX.EB.CORONA(特价版) | 1v CPU | 1GB | 20GB SSD | 2Gbps/2TB | 49.9美元/年 | 官网购买 |
| PVM.LAX.EB.TINY | 1v CPU | 2GB | 20GB SSD | 2Gbps/1.5TB | 9.99美元/月 | 官网购买 |
| PVM.LAX.EB.Pocket | 2v CPU | 2GB | 40GB SSD | 4Gbps/3TB | 14.90美元/月 | 官网购买 |
| PVM.LAX.EB.STARTER | 2v CPU | 2GB | 80GB SSD | 10Gbps/5TB | 29.90美元/月 | 官网购买 |
| PVM.LAX.EB.MINI | 4v CPU | 4GB | 80GB SSD | 10Gbps/10TB | 58.88美元/月 | 官网购买 |
| PVM.LAX.EB.MICRO | 4v CPU | 4GB | 160GB SSD | 10Gbps/14TB | 74.99美元/月 | 官网购买 |
| PVM.LAX.EB.MEDIUM | 6v CPU | 8GB | 160GB SSD | 10Gbps/30TB | 168.88美元/月 | 官网购买 |
| LAX.AN5.EB.LARGE | 8v CPU | 16GB | 320GB SSD | 10Gbps/50TB | 338.88美元/月 | 官网购买 |
- 默认支持1 IPv4 & 1 IPv6 /64
- 流量用完之后,限速4Mbps~10Mbps/不限流量
测试硬件配置:AMD EPYC 9655 CPU(4核心,主频为2596MHz),12GB内存,SSD硬盘,10Gbps带宽,IP归属洛杉矶(DMIT自家的AS),已开启BBR,硬盘I/O读写大致1.1GB/s:

融合怪测试CPU、内存、硬盘I/O读写性能数据:

fio测试硬盘I/O读写性能数据:

国内部分节点上传和下载速度测试数据:

国内ping延迟测试,平均延迟163ms的样子,国内访问延迟算是低的:

联通去程路由节点,联通骨干网AS4837-AS10099直连到达洛杉矶机房:

联通回程线路,走联通AS9929高端链路直连回来:

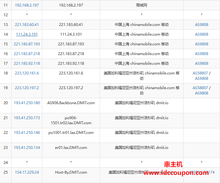
移动去程路由节点测试,移动cmin2直连洛杉矶节点到达机房:

移动回程路由,走移动CMIN2高端链路回国:

电信去程路由节点测试,走电信CN2/CTG线路直连到达洛杉矶机房:

电信回程路由节点测试,强制走联通AS9929高端链路直连回来:

网络质量体检报告(网络高峰期可能会略有波动):

IP质量检测报告数据:

部分跨域流媒体解锁情况(测试结果仅供参考):

Geekbench 6综合跑分测试数据:

总结
以上就是DMIT Eyeball系列美国洛杉矶VPS评测数据,硬件性能非常强悍,唯一不足是硬盘I/O读写略低。在网络方面,三网去程走各自骨干网,回程移动走CMIN2,电信和联通走AS9929,都是高端优质链路回来,所以国内访问延迟低、速度快,是建站项目的好选择。
惠主机



















