InterServer正式在美国达拉斯部署数据中心,当前该机房主要设有KVM Linux和KVM Storage(存储型)类型VPS方案,现在购买仅需8折,月付价格2.4美元起。
那么,InterServer美国达拉斯VPS怎么样?接下来小编将对其进行全面评测,看看整体硬件性能和访问速度情况究竟如何,也好让大家作为参考,在购买之前可以查阅本文测评数据。
InterServer美国达拉斯VPS基于KVM虚拟化(Linux系统),Intel Platinum系列CPU,SSD硬盘,共享10Gbps带宽,自带1个IPv4,以下为部分Linux VPS方案配置情况(暂不支持Windows系统):
| 内存 | CPU | SSD | 流量 | 租用价格 | 购买地址 |
| 2GB | 1核心 | 40GB | 2TB | 3美元/月 | 点此购买 |
| 4GB | 2核心 | 80GB | 4TB | 6美元/月 | 点此购买 |
| 6GB | 3核心 | 120GB | 6TB | 9美元/月 | 点此购买 |
| 8GB | 4核心 | 160GB | 8TB | 12美元/月 | 点此购买 |
| 10GB | 5核心 | 200GB | 10TB | 15美元/月 | 点此购买 |
- 支持1个IPv4
测试方案配置:Intel Platinum 8173M CPU(1核心,主频为2.0GHz),2GB内存,共享10Gbps带宽,IP归属美国达拉斯(InterServer自己的ASN),已开启BBR加速,硬盘I/O读写大致454MB/s:

VPS硬件配置综合性能测试结果:

fio测试硬盘I/O读写详细数据:

Speedtest测试亚洲部分地区带宽速度:

Speedtest测试全球部分地区节点带宽速度:

iperf3测试欧美地区上传和下载速度数据:

国内部分地区ping延迟测试,平均延迟206ms的样子,走的是普通国际带宽线路:

联通去程路由节点测试,联通AS4837线路直连圣何塞节点,然后转zayo线路到达达拉斯机房:

联通回程路由节点,走arelion经过瑞典、法国、德国,然后在法兰克福节点对接163骨干网线路回来:

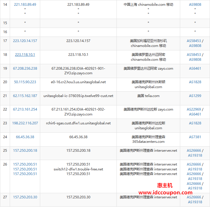
移动去程路由节点测试,移动CMI直连迈阿密节点,然后转zayo线路到达达拉斯机房:

移动回程路由节点,走unitasglobal网络经过纽约、英格兰、法国巴黎节点,然后对接移动CMI线路回来:

电信去程路由节点测试,电信163骨干网直连洛杉矶节点,然后转zayo-telia线路到达达拉斯机房:

电信回程路由节点,走arelion网络经过洛杉矶、圣何塞,然后对接电信163骨干网回来:

IP质量检测报告:

部分跨域流媒体解锁支持测试结果:

Geekbench跑分测试数据:

最后看看UnixBench跑分测试,1核心1线程大概712分的样子:

小结
以上就是InterServer美国达拉斯VPS测评数据,可以看出硬件新能还是不错的,表现都比较给力。在网络方面,走的是纯国际线路,除了电信回程是直连,其它路由均有绕道,国内访问延迟比较高,不过是原生IP,流媒体解锁较好,比较适合跨境电商、美国本土流媒体解锁业务。
惠主机





















