V.PS商家经过上次“账号事件”之后,不仅调整了部分产品的路由情况,而且还下架了Nnno系列和CN2线路VPS方案,可以说最近一段时间的确收敛了不少,热度也慢慢降了下来。
目前V.PS商家仅仅提供多个机房的常规云服务器产品方案,同时还包括阿姆斯特丹机房大硬盘VPS产品,价格基本和之前没太大变化,唯一的区别就是支付月付款周期。当然,在产品运营方面也可能做了略微调整,但具体细节就不得而知了。
此前,小编对V.PS美国、日本机房云服务器方案进行过评测。在本文中,小编主要针对国内用户使用较多的V.PS香港云服务器进行测评,看看整体性能和访问速度情况是怎样的。其主要方案配置情况如下所示:
| 方案 | CPU | 内存 | 硬盘 | 带宽/流量 | 租用价格 | 购买地址 |
| Starter | 2核心 | 1GB | 20GB SSD | 1Gbps/1TB | 11.95€/月 | 官网购买 |
| Essential | 2核心 | 2GB | 30GB SSD | 1Gbps/1TB | 15.95€/月 | 官网购买 |
| Pro | 4核心 | 4GB | 40GB SSD | 1Gbps/1TB | 19.95€/月 | 官网购买 |
| Premium | 8核心 | 8GB | 80GB SSD | 1Gbps/1TB | 39.95€/月 | 官网购买 |
测试方案配置:E5-2620v3(2.4GHz主频),1GB内存,20GB硬盘,1Gbps共享带宽,已开启BBR加速,硬盘I/O读写在120MB/s左右:

FIO硬盘I/O读写测试详细数据如下所示:

国内上行带宽和下行带宽速度测试:

安徽电信本地网页端上传下载速度测试结果如下:

国内ping延迟测试,平均延迟82ms的样子,其中电信线路有少部分地区延迟略高:

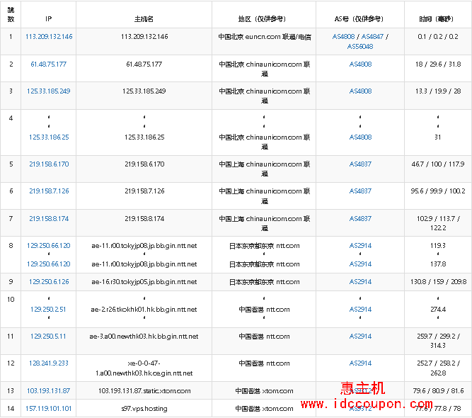
联通去程路由节点测试,联通AS4837转日本NTT线路达到香港机房:

联通回程路由线路,走的是移动CMI线路直连到大陆后转联通:
traceroute to 61.48.75.177 (61.48.75.177), 30 hops max, 60 byte packets 1 rg01hk.v.ps (95.214.164.1) 50.126 ms 50.090 ms 50.071 ms 2 * 103.193.131.92.static.xtom.com (103.193.131.92) 5.425 ms * 3 103.193.131.89.static.xtom.com (103.193.131.89) 2.426 ms 2.405 ms 2.435 ms 4 * 103.193.131.87.static.xtom.com (103.193.131.87) 5.301 ms * 5 223.119.81.186 (223.119.81.186) 0.515 ms 0.495 ms 0.474 ms 6 223.119.81.185 (223.119.81.185) 64.387 ms 63.912 ms * 7 223.120.2.49 (223.120.2.49) 2.389 ms 9.035 ms 9.028 ms 8 223.120.3.174 (223.120.3.174) 29.370 ms 223.120.22.110 (223.120.22.110) 27.773 ms 223.120.3.174 (223.120.3.174) 28.887 ms 9 221.183.89.170 (221.183.89.170) 30.560 ms 30.178 ms 221.183.89.174 (221.183.89.174) 30.233 ms 10 221.183.89.33 (221.183.89.33) 29.717 ms 221.183.89.69 (221.183.89.69) 28.813 ms 221.183.89.33 (221.183.89.33) 30.219 ms 11 221.183.89.10 (221.183.89.10) 31.074 ms 31.571 ms 221.183.89.50 (221.183.89.50) 30.900 ms 12 221.183.37.217 (221.183.37.217) 53.836 ms 221.183.37.133 (221.183.37.133) 55.908 ms 221.183.37.217 (221.183.37.217) 54.035 ms 13 221.183.94.42 (221.183.94.42) 55.429 ms 57.582 ms 221.183.94.38 (221.183.94.38) 56.378 ms 14 219.158.40.17 (219.158.40.17) 82.897 ms 221.183.95.54 (221.183.95.54) 82.614 ms 219.158.40.17 (219.158.40.17) 82.862 ms 15 219.158.120.117 (219.158.120.117) 79.869 ms 75.925 ms 74.774 ms 16 * 125.33.186.58 (125.33.186.58) 79.764 ms 125.33.186.14 (125.33.186.14) 85.885 ms 17 61.48.75.177 (61.48.75.177) 81.340 ms 80.901 ms 80.891 ms
移动去程路由节点线路,移动CMI线路直连达到香港机房:

移动回程路由,也是移动CMI骨干网直连回到大陆:
traceroute to 221.183.89.9 (221.183.89.9), 30 hops max, 60 byte packets 1 rg01hk.v.ps (95.214.164.1) 12.195 ms 12.153 ms 12.134 ms 2 103.193.131.92.static.xtom.com (103.193.131.92) 11.332 ms 11.290 ms * 3 103.193.131.89.static.xtom.com (103.193.131.89) 2.164 ms 2.187 ms 2.166 ms 4 103.193.131.87.static.xtom.com (103.193.131.87) 11.199 ms * * 5 223.119.81.186 (223.119.81.186) 0.561 ms 0.537 ms 0.562 ms 6 * 223.119.81.185 (223.119.81.185) 0.322 ms * 7 223.120.2.49 (223.120.2.49) 4.979 ms 4.665 ms 4.534 ms 8 * 223.120.3.182 (223.120.3.182) 28.867 ms 223.120.3.186 (223.120.3.186) 28.963 ms 9 221.183.89.174 (221.183.89.174) 30.280 ms 221.183.89.170 (221.183.89.170) 30.198 ms 29.706 ms 10 221.183.89.69 (221.183.89.69) 29.866 ms 221.183.89.9 (221.183.89.9) 31.017 ms 30.536 ms
电信去程路由节点线路,电信163骨干网对接日本NTT线路到达香港机房:

电信回程路由线路,和联通一样,走的是移动线路到达大陆后转电信节点:
traceroute to 183.58.35.5 (183.58.35.5), 30 hops max, 60 byte packets 1 rg01hk.v.ps (95.214.164.1) 12.161 ms 12.114 ms 12.090 ms 2 * * * 3 103.193.131.89.static.xtom.com (103.193.131.89) 0.388 ms 0.387 ms 0.400 ms 4 * * * 5 223.119.81.186 (223.119.81.186) 1.577 ms 1.604 ms 1.651 ms 6 * * * 7 223.120.2.49 (223.120.2.49) 2.348 ms 2.966 ms 2.928 ms 8 223.120.3.182 (223.120.3.182) 28.849 ms 28.833 ms * 9 221.183.89.174 (221.183.89.174) 29.654 ms * 29.059 ms 10 221.183.89.69 (221.183.89.69) 30.365 ms 221.183.89.33 (221.183.89.33) 30.954 ms 221.183.89.69 (221.183.89.69) 30.296 ms 11 221.183.89.14 (221.183.89.14) 31.963 ms 221.183.89.50 (221.183.89.50) 30.976 ms 221.183.89.46 (221.183.89.46) 31.603 ms 12 221.183.170.65 (221.183.170.65) 35.252 ms 221.183.170.33 (221.183.170.33) 31.310 ms 221.183.40.46 (221.183.40.46) 32.143 ms 13 221.183.90.214 (221.183.90.214) 35.172 ms 37.318 ms 37.436 ms 14 * * * 15 * 202.97.95.113 (202.97.95.113) 88.277 ms 202.97.81.57 (202.97.81.57) 83.294 ms 16 * * 183.58.35.5 (183.58.35.5) 87.073 ms
主要流媒体解锁支持情况测试如下(默认为港区)

UnixBench跑分测试,整体来看性能只能说一般般吧:

总结
以上就是关于V.PS香港云服务器的简单测评数据,可以看出硬件配置表现一般。另外,在路由方面,基本上还是采用其母公司xTom的主流线路,其中移动双程直连,电信和联通稍微差一些,去程是转到日本NTT线路,回程都是强制转移动线路回来。
当然,需要注意的是,V.PS香港云服务器VPS比其它机房要贵5美元,略微一点小优势是1Gbps共享带宽以及三网CMI线路直连回程线路。所以预算不多的话,强烈建议选用V.PS日本和圣何塞机房,基本上和香港机房相差不大,但价格要便宜不少。
惠主机





















