CloudCone VPS位于比较知名的美国洛杉矶MC机房,按小时计费,价格便宜,而且接入CN2 GT、联通、移动直连线路,所以备受国内站长青睐。不过对于新手站长而言,可能比较关心CloudCone云服务器VPS方案性能配置和访问速度情况。为此,本文简单来介绍下。
- 特价方案,终身循环优惠,无需输入优惠码
| 方案 | CPU | 内存 | SSD | 流量/带宽 | 优惠价格 | 购买地址 |
| 25BF-SSD-1 | 2vCPU | 1GB | 20GB | 3TB/1Gbps | 14.99美元/年 | 点此购买 |
| 25BF-SSD-2 | 3vCPU | 2GB | 30GB | 4TB/1Gbps | 22.22美元/年 | 点此购买 |
| 25BF-SSD-3 | 6vCPU | 4GB | 60GB | 5TB/1Gbps | 39.50美元/年 | 点此购买 |
| 25BF-SSD-4 | 10vCPU | 8GB | 110GB | 6TB/1Gbps | 73.99美元/年 | 点此购买 |
| 25BF-SSD-5 | 14vCPU | 16GB | 220GB | 8TB/1Gbps | 145.45美元/年 | 点此购买 |
| 25BF-SSD-6 | 18vCPU | 32GB | 440GB | 10TB/1Gbps | 299美元/年 | 点此购买 |
- 支持数据备份、快速快照功能
- 一键式应用程序安装
- 免费支持rDNS,AnyCast DNS
测试方案:1v CPU、512MB内存、SSD硬盘、1Gbps共享网络。
一、I/O读写及下载速度测试
I/O读写速度有600MB/s,下载速度也有几十MB,整体来说还是可以的:

二、网络带宽大小测试
从测试结果来看,网络上传和下载带宽资源都比较充裕,而且最低配方案都有3TB 流量,所以基本不用担心带货流量:

三、UnixBench跑分测试
UnixBench跑分在600分左右,整体看还行,个人论坛、博客网站是够用了,如果网站规模较大,可以选择一个2核的,性能应该会提升不少:

四、Ping值延迟测试(测试IP:148.135.46.16)
全国ping值测试,基本在140ms~220ms直接,访问速度还算可以,如果按个CDN速度应该还会提升不少:

五、Tracert路由测试
徐州电信tracert路由测试结果如下:

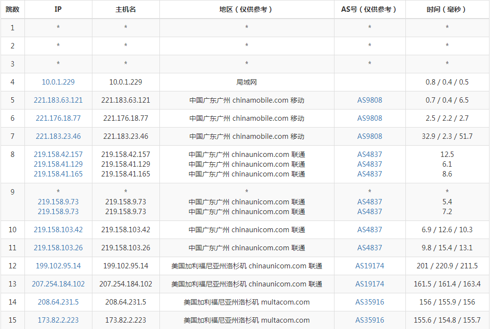
广东移动tracert路由测试结果如下:

浙江杭州tracert路由测试结果如下:

从Tracert路由测试结果来看,确实都是三网直连线路,回程只有移动线路稍微有点绕道日本,整体来看网络线路还是比较优质的。
六、总结
通过以上检测结果,可以发现CloudCone美国VPS性能配置和访问速度还是比较不错的,比较适合中等规模的网站建设。更重要的是,按小时计费,租用价格也便宜,所以还是比较值得选择的。
此外,需要注意的是,购买CloudCone美国VPS之后,如果IP被封的话需要更换,具体可以参考:CloudCone VPS被墙后更换IP或退款的简单方法介绍。如果嫌麻烦,可以通过2美元购买新的IP,付费购买的IP基本都是能够正常使用的。
惠主机





















