CloudCone SC2云服务器(Scalable Cloud Compute)位于美国Multacom机房,即它的DC2机房。CloudCone SC2云服务器是具有高性能、完全管理的可扩展SSD服务器,以实现强大的计算能力,并由完全冗余的多千兆和低延迟网络提供支持。
目前CloudCone SC2云服务器共有多个方案配置,支持按时计费、自动备份,Snapshots、云防火墙等功能优势,并且支持高度冗余等扩展性能,所以在业内比较受欢迎,可以满足不同使用需求。
那么,CloudCone SC2云服务器究竟怎么样,综合性能配置比传统VPS好吗,本文将带大家简单的来看看。另外,以下是几款特价CloudCone SC2云服务器方案,租用性价比相对较高,具体如下:
| 方案 | CPU | 内存 | 硬盘 | 流量/带宽 | 优惠价格 | 购买地址 |
| xma-sc2-2023-1 | 1vCPU | 0.5GB | 10GB SSD | 2TB/1Gbps | 1.65美元/月 | 点此购买 |
| xmas-sc2-2023-2 | 1vCPU | 1GB | 20GB SSD | 3TB/1Gbps | 2.88美元/月 | 点此购买 |
| xmas-sc2-2023-3 | 2vCPU | 2GB | 40GB SSD | 4TB/1Gbps | 5.35美元/月 | 点此购买 |
| xmas-sc2-2023-4 | 3vCPU | 4GB | 80GB SSD | 6TB/1Gbps | 10.26美元/月 | 点此购买 |
| xmas-sc2-2023-5 | 4vCPU | 8GB | 1600GB SSD | 8TB/1Gbps | 21.00美元/月 | 点此购买 |
- 支持1个IPv4地址
- 后台采用cPanel/WHM面板
- Linux和Windows系统(支持多个应用一键安装)
测试方案配置:Intel Xeon E312X CPU、1核心、1GB内存、SSD硬盘、BBR加速功能已经开启、磁盘I/O读写大致在860MB/s的样子,详细测试信息如下:

CPU、内存、I/O读写等基本性能测试信息结果:

国内部分地区上传和下载速度测试结果如下:

国内部分地区ping延迟测试,平均在175ms的样子,延迟相对来说还是比较低的:

移动去程路由节点测试,移动骨干网直连到达机房:

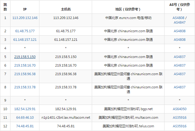
联通去程路由节点测试,联通AS4837线路直连BGP线路到达机房:

电信去程路由节点测试,电信163骨干网直连对接到达机房:

流媒体解锁测试信息如下:

宝塔插件评分测试结果如下:

最后在看看UnixBench跑分测试,结果如下所示:

总结
以上就是关于CloudCone SC2美国云服务器简单测评情况,可以看出母鸡的负载可能会略高一些,但I/O读写性能比较不错,价格比较便宜,所以基本上能够对得起这样的价格。
另外,在网络方面,去程和回程都是三网骨干网直连线路,国内访问虽然比不上CN2线路,但速度体验也并不慢,建站或者反代什么的都是可以的,完全可以放心选用。
惠主机





















