BandwagonHost(搬瓦工)推出美国洛杉矶DC99机房已有一段时间,之前属于测试阶段,并且发布两款测试VPS方案,只要通过用户邀请才能购买。
近日,随着搬瓦工“POWERBOX-30-1536”VPS对外开卖,预示着 机房测试阶段已经结束,正式进入投入使用阶段,现在购买该机房VPS不需要再使用邀请码了。
众所周知,搬瓦工洛杉矶DC99机房全新推出不久,三网采用CN2 GIA线路,路由优化的不错过,国内访问延迟较低。那么,搬瓦工DC99机房VPS究竟怎么样,实际体验效果好不好?接下来将对其进行简单测评,数据仅供参考。
| 内存 | CPU | 硬盘 | 流量 | 带宽 | 优惠价格 | 购买地址 |
| 1.5GB | 1核 | 30G SSD | 1.5TB/月 | 2.5Gbps | 45美元/年 | 官网购买 |
- 默认支持1个IPv4地址
测试方案配置:Intel Xeon CPU(1核心、2399MHz),1.5GB内存,SSD硬盘,2.5Gbps共享端口,IP归属洛杉矶,已开启BBR,硬盘I/O读写大致973MB/s的样子:

VPS硬件配置综合性能跑分测试:

fio测试硬盘I/O读写详细数据:

国内部分地区上行和下行带宽速度测试:

Speedtest测试国际部分节点速度数据:

国内部分地区ping延迟测试,平均延迟145ms的样子,速度是相当的给力:

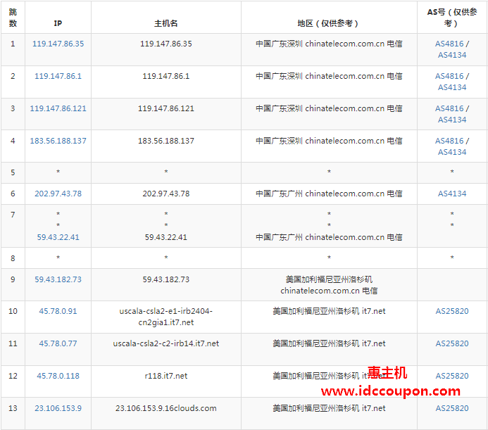
电信去程路由节点测试,电信CN2线路直连洛杉矶节点到达机房:

电信回程路由节点,走电信CN2线路直连回来:
『广州 电信 163 AS4134 』
traceroute to ipv4.can-4134.endpoint.nxtrace.org., 30 hops max, 52 byte packets
1 10.27.0.1 * RFC1918
37.74 ms / 25.32 ms / 37.02 ms
2 10.27.255.0 * RFC1918
6.01 ms / 7.08 ms / 8.05 ms
3 45.78.0.74 AS25820 美国 加利福尼亚州 洛杉矶 it7.net
uscala-csla2-e1-ae1.13.it7.net 0.33 ms / 0.43 ms / 0.40 ms
4 *
5 59.43.189.41 * [CN2-BackBone] 中国 广东 广州 chinatelecom.cn 电信
144.49 ms / 144.25 ms / 144.28 ms
6 59.43.180.241 * [CN2-BackBone] 中国 广东 广州 chinatelecom.cn 电信
149.37 ms / 156.59 ms / 149.35 ms
7 59.43.22.42 * [CN2-BackBone] 中国 广东 广州 chinatelecom.cn 电信
153.56 ms / 149.16 ms / 152.54 ms
8 202.97.43.77 AS4134 [CHINANET-BB] 中国 广东 广州 www.chinatelecom.com.cn 电信
150.45 ms / * ms / * ms
9 113.96.4.222 AS4134 [CHINANET-GD] 中国 广东 广州 www.chinatelecom.com.cn 电信
156.41 ms / 151.63 ms / 154.95 ms
10 121.14.50.174 AS4134 [CHINANET-GD] 中国 广东 广州 www.chinatelecom.com.cn 电信
147.96 ms / 191.84 ms / 148.30 ms
11 125.88.170.62 AS4134 [CHINANET-GD] 中国 广东 广州 www.chinatelecom.com.cn 电信
148.53 ms / 148.46 ms / 148.32 ms
12 14.116.225.60 AS4134 中国 广东 广州 www.chinatelecom.com.cn 电信
147.10 ms / 147.11 ms / 147.15 ms
移动去程路由节点测试,移动CMI直连杉矶节点转it7网络到达机房:

移动回程路由节点测试,强制走电信CN2线路回来:
『上海 移动 CMNET AS9808 』
traceroute to ipv4.sha-9808.endpoint.nxtrace.org., 30 hops max, 52 byte packets
1 10.27.0.1 * RFC1918
14.27 ms / 34.85 ms / 33.06 ms
2 10.27.255.0 * RFC1918
1.96 ms / 1.68 ms / 2.69 ms
3 45.78.0.78 AS25820 美国 加利福尼亚州 洛杉矶 it7.net
0.35 ms / 0.33 ms / 2.39 ms
4 *
5 59.43.189.37 * [CN2-BackBone] 中国 上海 chinatelecom.cn 电信
128.54 ms / 128.63 ms / 128.81 ms
6 59.43.39.101 * [CN2-BackBone] 中国 广东 广州 chinatelecom.cn 电信
229.59 ms / * ms / * ms
7 59.43.159.17 * [CN2-BackBone] 中国 上海 I-C chinatelecom.cn 电信
132.49 ms / 135.97 ms / 131.06 ms
8 59.43.80.141 * [CN2-BackBone] 中国 上海 chinatelecom.cn 电信
230.26 ms / 230.24 ms / * ms
9 *
10 221.183.123.97 AS9808 [CMNET] 中国 上海 chinamobileltd.com 移动
332.11 ms / * ms / * ms
11 221.183.90.241 AS9808 [CMNET] 中国 上海 chinamobileltd.com 移动
230.54 ms / * ms / * ms
12 *
13 120.204.34.85 AS24400 [APNIC-AP] 中国 上海 sh.10086.cn 移动
131.16 ms / 131.24 ms / 131.17 ms
联通去程路由节点测试,联通AS4837直连圣何塞节点,然后转it7网络到达机房:

联通回程路由节点测试,强制走电信CN2线路回来:
『北京 联通 169 AS4837 』
traceroute to ipv4.pek-4837.endpoint.nxtrace.org., 30 hops max, 52 byte packets
1 10.27.0.1 * RFC1918
23.10 ms / 32.09 ms / 34.08 ms
2 10.27.255.10 * RFC1918
3.17 ms / 6.26 ms / 4.14 ms
3 45.78.0.76 AS25820 美国 加利福尼亚州 洛杉矶 it7.net
uscala-csla2-e1-ae2.14.it7.net 0.30 ms / 0.45 ms / 0.81 ms
4 *
5 59.43.184.157 * [CN2-BackBone] 中国 上海 X-I chinatelecom.cn 电信
127.97 ms / 127.94 ms / 130.88 ms
6 *
7 59.43.159.17 * [CN2-BackBone] 中国 上海 I-C chinatelecom.cn 电信
134.75 ms / 130.40 ms / 133.52 ms
8 219.158.40.173 AS4837 [CU169-BACKBONE] 中国 上海 chinaunicom.cn 联通
177.68 ms / 177.54 ms / 176.70 ms
9 219.158.119.245 AS4837 [CU169-BACKBONE] 中国 上海 chinaunicom.cn 联通
175.86 ms / 174.97 ms / 175.60 ms
10 *
11 *
12 219.232.11.130 AS4808 [BGTELECOM] 中国 北京 中国联通 联通
155.76 ms / 155.87 ms / 155.56 ms
13 *
14 *
15 *
16 123.125.96.156 AS4808 [UNICOM-BJ] 中国 北京 中国联通 联通
174.87 ms / 174.68 ms / 174.61 ms
IP质量检测报告:

部分跨域流媒体解锁支持测试:

最后看看UnixBench跑分测试,1核心1线程大概1044分的样子:

小结
以上就是关于BandwagonHost DC99美国VPS大致测评数据,可以看出硬件配置马马虎虎,负载较低,I/O读写还不错。在网络方面,去程各自骨干网直连,回程全部走CN2线路直连回来,国内访问速度快,延迟较低,可能就是价格比同类配置略微偏高一点。
惠主机





















